Printable DB
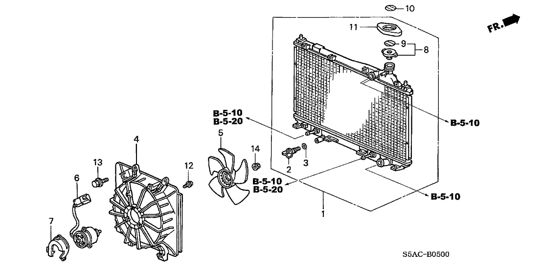
1998 Honda Civic Part Diagram
job description template powerpoint
ingersoll rand fuel filter
free printable employee evaluation template
hot water heater relay wiring diagram
kali linux certificate
jewelry line sheet sample
kium concept
hunter ceiling fan with light wiring diagram
1998 Honda Civic 4 Door Lx Ka 5mt Engine Wire Harness
1998 Honda Civic 2 Door Ex Ka 4at Engine Mount Honda Parts Now
Stay Oxygen Sensor
1998 Honda Civic 4 Door Lx Ka 4at A C Hoses Pipes
Honda Online Store 1998 Civic Bumper Parts
1998 Honda Civic 2 Door Hx Kl Cvt Engine Wire Harness
Pin By Atvnetworks Com On Strictlyforeign Biz Honda Honda
1998 Honda Civic 2 Door Ex Kw 5mt Door Panel Honda Parts Now
P0108 Code I Dont Know Just It Isnt Working Properly
1998 Honda Civic 2 Door Ex Ka 4at Brake Lines Honda Parts Now
Dt466e Engine Parts Diagram Wiring Diagrams Folder
2003 Honda Civic Ex Engine Diagram Wiring Schematic Diagram
1998 Honda Civic Fuel Filter Wiring Diagrams
Diy Interior Cabin Air A C Filter Retrofit For 5g 92 95
Honda Online Store 1998 Civic Rear Door Locks Parts
Door Window For 1998 Honda Civic Coupe Majestic Honda
Stay Air Cleaner
P0335 Honda
Honda Civic Wiring Harness Diagram 7 Wiring Diagram With
1998 Honda Civic 4 Door Lx Ka 4at Alternator Bracket
98 Crv Fuse Diagram Technical Diagrams
Source :
pinterest.com
Popular Posts
For God So Loved The World Free Printable
Hipaa Hitech Certification
Fourth Grade Grammar Worksheets
Forklift Certification Price
Excuse Letter Sample Letter Due To Financial Problem
Family Genogram Template Free
G14 Golf Cart Dash
Highbeam Wiring Schematic 2000 Chevy Blazer
Ford Fusion Wiring Diagram Free
Free Promissory Note Template Pdf Canada
Football Tailgate Invitation Template
Household Bookkeeping Template
Fender Blacktop Precision Bass Used
Forklift Certification Test
Honda 400 Ex Wiring Harnes
First Job Resume Template Resume Sample
Kickball Tournament Flyer Template
Ifbb Coach Certification
Free Online Lesson Plan Template
Free Sample Letterhead Templates
How To Make Resume In Iphone 6
Gravely Solenoid Wiring Diagram
Hot Water Loop Plumbing Diagram
Gas Furnace With Ac Thermostat Wiring
Free Printable English Worksheets For Grade 1
How To Parse Resume In Python
Gm Wire Harnes Part
How To Create A Flyer Template
Hvac Certification Courses
Halo Lamp Wiring Diagram
Free Root Cause Analysis Template
Hair Salon Employee Handbook Template
Idealarc 250 Lincoln Wiring Diagram
Hopkins 7 Pin Trailer Plug Wiring Diagram
Free Printable Birthday Cards For Men
Gold Shovel Certification
Lab Report Template
Executive Development Plan Template
Free Mermaid Invitation Template Download
Free Circle Map Template
Kibana Dashboard Templates
Farewell Invitation Templates Free Download
Free Printable Special Education Lesson Plan
La Zoo Coupons Printable
Ezgo Golf Cart Manual Free
Honda Civic Fuse Box
How Can I Create A Resume For Free
Hummer H2 Wiring Diagram
Insider Threat Policy Template
Food Blog Template Wordpress
Honeywell Thermostat Wiring
Harnes Ford Wiring 13a625 Ba
Free Divorce Decree Template
Hayward Heater Wiring Diagram Free Download Schematic
Graco Wiring Diagram