Printable DB
2001 Hyundai Xg300 Wiring
wedding planner printable sheets
wedding reception timeline of events template
woodland animals baby shower free printables
wiring diagram 9003
wiring diagram for 1979 jeep cj 7
what is a fact file template
website design quotation template doc
wedding ceremony itinerary sample
I Have A 2001 Hyundai Xg300 When I Punch The Ac On Switch
Hyundai Xg350 Wiring Diagram Wiring Schematic Diagram
Hyundai Xg350 Wiring Diagram Wiring Schematic Diagram
Heater Fan Quit Working 2001 Hyundai Xg300 I Took My Son
Wrg 2562 Wiring Diagram 2001 Hyundai Xg300
2001 Hyundai Xg300
Hyundai 91680 39161
Stereo Wiring On Twitter 2001 Hyundai Xg300 Car Stereo
2001 Hyundai Xg300 Find Speakers Stereos And Dash Kits
Hyundai 91700 39041
Details About Ignition Wire Set Spark Plug Wires 7mm For Hyundai Xg300 Xg350 Kia Sedona
2001 Sonata Fuse Diagram Wiring Diagram
2004 Hyundai Xg350 Fuse Box Diagram Wiring Schematic
2001 05 Hyundai Xg300 350 Consumer Guide Auto
Hyundai Xg300 Stereo Install Pt 1 Of 4 Youtube
Metra Bt 7301long 2001 Hyundai Xg300 Car Radio Wire
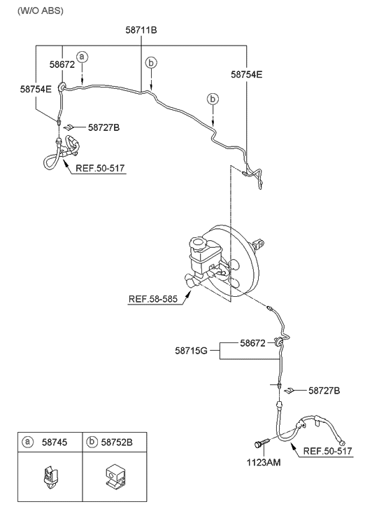
2001 Hyundai Xg300 Wiring Diagram Wiring Diagram
Details About 2001 Hyundai Xg 300 Electrical Troubleshooting Manual Xg300 Wiring Diagrams Book
Details About Oxygen O2 Sensor 4 Wire For Santa Fe Sonata Xg300 Xg350 Amanti Optima
Amazon Com Spark Plug Wires Coil Boots For Hyundai Xg300
Hyundai Xg350 Wiring Diagram Wiring Schematic Diagram
Source :
pinterest.com
Popular Posts
Saab Headlight Wiring Diagram
Time And Material Daily Log Template
Service Call Invoice Template
Training Sign In Sheet Template Excel
Usps Priority Mail Receipt
Retail Experience Resume
Storm At Sea Templates Free
Simple Paper Doll Template
Quarterly Sales Report Template
Self Employed Mileage Log Template
Sample Contract Termination Letter Vendor
Story Writing A Book Template
Sample Letter To Stop Security Services
Receipt Wallet App
Sample Bank Statement Excel
Sample Professional Reference Letter For Nurses Anmac
Sample Letter Of Intent To Purchase Commercial Real Estate
Seo Content Calendar Template
Street Light Wiring Diagram
Questionnaire Training Needs Assessment Sample Questions
Radon Certification Maryland
Regular Electrical Voltage To Starter Wiring Diagram Chevy
Status Report Icon Png
Split Femur Diagram
The Cell Cycle And Cancer Worksheet Answers Key
Sample Business Letter Of Appreciation For Support
Sample Professional 2 Week Notice
Rover Death Certificate
Venn Diagram Template With Lines
Sample Cover Letter For Professor
Rally Scooter Wiring Diagram
Scion Tc Engine Mount Diagram
Upsc Interview Call Letter Sample
Resume Builder For Kids
Receipt Holder Restaurant
Sample Letter Of Completion Of Internship From Company
St Patricks Day Powerpoint Templates
Vw Subaru Conversion Engine Wiring Harnes
Reference Letter Template Free Download
Super Size Me Film Worksheet Answers Key
Top Resume Com
Sample Letter For Vacation Leave Request For Wedding
Self Employed Income Analysis Worksheet Excel
Subcontractor Agreement Template Word
Sermon Preparation Template
Sample Retirement Wishes For Coworker
Residential Sublease Agreement Template Free
Rental Deposit Form Template
Sample Order Sheet Template
Sample Lease Agreement Word Document
Sample Grievance Letter To Hr
Rose Gold Wedding Invitation Template
Sweet 16 Label Templates
Request For Statement Of Account Sample Email
Ring Diagram Template