Printable DB
2004 Chevy Cavalier Clutch Diagram
blank camping invitation template
chevy expres van 1500 wiring diagram
classic mini cooper suspension
blackhawk cutaway diagram
chuck e cheese free printable birthday invitations
employee transfer sample letter of request for transfer of workplace
disciplinary warning letter sample for violation of rules and regulations
club car golf cart wiring schematic
2004 Chevy Cavalier Clutch Diagram Wiring Diagram
2004 Chevy Cavalier Clutch Pedal Went To The Floor
Repair Guides
2004 Chevy Cavalier Clutch Diagram Wiring Diagram
2004 Chevy Cavalier Clutch Diagram Wiring Diagram
2004 Chevy Cavalier Clutch Stuck To Floor Can Physically
Replacing A 2004 Chevy Cavalier Clutch
2004 Chevy Cavalier Clutch Diagram Wiring Diagram
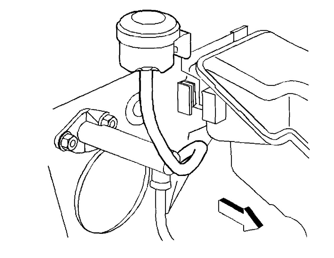
Clutch Master Cylinder Bleed Valve Location Needed
2004 Chevy Cavalier Clutch Diagram Wiring Diagram
2004 Chevy Cavalier Clutch Diagram Wiring Diagram
1998 Chevy Cavalier Clutch Pedal My Clutch Pedal Felt Like
Repair Guides
Chevrolet Cavalier Clutch Clutch Kits Luk Exedy Api
2004 Chevy Cavalier Clutch Diagram Wiring Diagram
Dead Clutch On My 2005 Cavalier 2 2 Ecotech 5 Speed With
Clutch Problems My Clutch Is Not Working And It Seems To Be
Amazon Com Eft Hd Clutch Kit Slave Cylinder 02 05 Chevy
2000 Cavalier Clutch Replacement Third Generation Starter Fuse Box And Wire Harness Removal
How To Bleed A Slave Cylinder 14 Steps With Pictures
2004 Chevy Cavalier Clutch Diagram Wiring Diagram
Source :
pinterest.com
Popular Posts
Work Agreement Letter Sample
Zety Resume Builder
Yearly Payroll Summary Report Template Excel
Wilkinson Humbucker Wiring Diagram
Worksheet Methods Of Heat Transfer
Whole Life Insurance Vs Term Insurance Worksheet Answers
Word New Employee Form Template
Wedding Invitation Templates Rose Gold
Whole 30 Meal Plan Template
Wiring Diagram 2002 Pontiac Grand Prix Gt
Wedding Slideshow Template
Wire Harnes For Furniture
Weasley Clock Printable
What Is A Professional Resume
Writing A Complaint Letter Sample
Yamaha Rectifier Wiring Diagram For 8
Wellness Practitioner Certification
Wiring Diagram For Quad Receptacle
Wiring Diagram Fuel Pump Camaro
Youth Ministry Resume Template
Whelen Strobe Light Wiring Diagram 500
Weathering And Soil Formation Worksheet Answers
Wedding Reminder Template
Writing A Letter Of Interest For A Teaching Job
Word Document Car Receipt Template
What Personal Information Should Be On A Resume
Word Document Business Questionnaire Template
Western Plow Ultramount 2
Yearbook Cover Template
Word Reference Letter Template
Wire Diagram For 1977 Chevy C10
Yamaha Rhino 450 Fuel Filter
Who Am I Cell Organelles Worksheet Answers
Wiring Phone Line To Broadband
Wilton Wedding Invitation Kit Template
Website Layout Template Illustrator
Wiring Diagram 30 Amp Rv Outlet
Wiring A Double Light Switch 2 Way
Wayne Dalton Garage Door
Wiring Diagram For Amplifier Car Stereo
Word Vendor Contract Template
Writing And Balancing Chemical Equations Worksheet
Weekly Project Report Template
Word Document Printable Coupon Template Word
Wedding Reception Card Templates Free
What Should Be On A Resume Cover Letter
Word Document Free Medical Flyer Templates For Word
Weekly Assignment Sheet Weekly Homework Template Pdf
Wiring Diagram 1978 Chevy Nova 250
Wiring Diagram 99 Saab
Work From Home Schedule Template
Wiring Diagram For Smoke Alarm
Wiring Diagram 7600 Tractor 1977 Ford
Yamaha Warn A2000 Winch Wiring To
Wire Diagram For 2004 Mustang Gt