Printable DB
Door Lock Actuator Diagram
work instructions template excel
work experience letter format sample
wedding planning checklist template
wiring diagram usb to rs232
water heater heat control wiring diagram
work to do list template
wiring diagram for automotive relay
wisconsin dmv gov mv3001 printable
Door Lock Actuator Wiring Diagram Wellread Me And Power
Details About Toyota Oem 05 15 Tacoma Front Door Lock Actuator Motor 6904004030
Door Locks Actuators Reverse Polarity Positive Switch
Volkswagen Door Lock Actuator Wiring Diagram Wiring Diagram
General Motors 22922943 Door Lock Actuator Motor
Wiring Diagram For Aftermarket Door Locks Car Audio Forumz
X5 Door Diagram Schematics Online
5 Wire Motor Actuator Diagram Schematics Online
Ram Chrysler Oem 14 16 Promaster 1500 Side Sliding Door Lock Actuator 68226178ab
Details About Toyota Oem Front Door Lock Actuator Motor 6904002440
Volkswagen Door Lock Actuator Wiring Diagram Wiring Diagram
Central Door Locking System Wiring Diagram Wiring Diagram
Amazon Com Mitsubishi 5715a844 Door Lock Actuator Motor
Lock Actuator Wiring For Technical Diagrams
Honda 72115 S6a J11
Chrysler Oem 2017 Pacifica Side Sliding Door Lock Actuator Right 68185976aa
Door Lock Actuator Wiring Diagram Wiring Schematic Diagram
Car Alarm Door Lock Wiring
5 Wire Door Lock Actuator Diagram Machine Learning
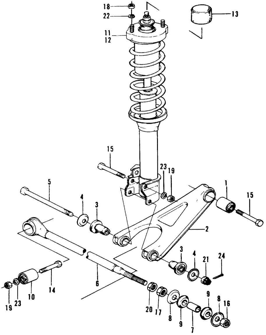
Where Can I Find An Exploded Diagram Of A Power Door Lock
Details About Hyundai Oem 11 15 Sonata Front Door Lock Actuator Motor 813203s020
Source :
pinterest.com
Popular Posts
Hugs And Kisses From The Mr And Mrs Tags Template
Hazwoper Certification Expiration
Focu Fuse Box
Free Science Worksheets For 2nd Grade
Html Email Format Template
Gm Fuse Box Corrosion
Hei Distributor Wiring Diagram
Job Sample Resignation Letter Template
Financial Assistance Financial Aid Request Letter Sample
Immigration Letter Sample For Spouse
Gym Rental Agreement Template Word
Isuzu Stock Radio Wiring Schematic
Free Business Proposal Template Word Doc
Handwriting 4th Grade Writing Worksheets
Fake Amazon Receipt Generator
Interview Consent Form Template
Google Slides Templates Space
Growthink Business Plan Template
How Should A Resume Look Like In 2019
Extraction Of Aluminium Diagram
Free Parenting Plan Template Qld
Free Algorithm Template
Free Simple Addition Worksheets
Free Wordpress Website Templates For Business
Free Sample Bio
How To Type A Good Resume
How To Record Receipts In Quickbooks
How To Create A Flyer Template
Jeep Cj Headlight Switch Wiring
Hibiscus Stencil Printable
Fender Precision Bass Olympic White
Free Bill Tracker Printable
Free Invoice Quote Template
Free Sample Introduction Letter For New Business
Excel Time Graph Template
John Deere Tractor Alternator Wiring Diagram
Free Window Cleaning Website Templates
Free Editable Classroom Seating Chart Template
Free Printable Tax Forms 1040ez
G14 Golf Cart Dash
Ford Motor Wiring Color Code
Honda 185 Engine Diagram
Graphic Design Cold Email Template
Festival Website Template
Great Resume Templates
Free Rental Verification Form Template
Is Livecareer Resume Builder Free
Facility Management Certification
Free Work Invoice Template
General Remote Starter Diagram
Home Inspection Template Pdf
Hilux Surf Wiring Loom
Hand Off Auto Wiring Diagram Starter Motor
Human Resources Policy Template
Fiero Wiring Harness Diagram